2. 江苏省公安厅交通警察总队,江苏 南京 210049;
3. 南京邮电大学 电子科学与工程学院,江苏 南京 210003
2. Jiangsu Provincial Public Security Dept. Traffic Police Corps, Nanjing 210049, China;
3. College of Electronic Sci. and Eng., Nanjing Univ. of Posts and Telecommunications, Nanjing 210003, China
无线传感网络(wireless sensor network, WSN)是由大量传感器节点通过自组织方式组成的无线网络[1]。作为一种特殊的Ad-hoc网络,WSN已被广泛应用于各种领域,但由于传感网自身的大规模、自组织、动态拓扑以及硬件资源和电源容量的有限性等特点,使得其安全性面临很多挑战[2]。
当前针对无线传感网安全的攻击行为复杂多样,包括蠕虫攻击、后门木马、拒绝服务攻击、中间人攻击及其他恶意程序等[2–3]。例如,Yao[4]、Giannetsos[5]和Gu[6]等给出了传感节点中注入恶意程序并传播恶意程序的方法。这些恶意程序一旦利用传感节点的漏洞在传感网中广泛传播后,就能严重影响整个传感网的可靠度和整个网络工作的稳定性。因此无线传感网络中的危害传播问题引起了越来越广泛的关注。
目前对于无线传感网的安全问题已经有了相应的研究。经典的Kermack–Mckendrick传染病模型如今被广泛地用于分析有线网络中恶意软件的传播。但是,由于WSN与传统的网络在网络构建方式、节点限制以及介质的访问控制等机制上有所不同,因此,需要在经典病毒传播模型的基础上,从复杂网络的角度对WSN的恶意软件传播进行研究[7]。
曹玉林等[2]讨论了如何优化地组合易感节点的免疫比例与感染节点的恢复比例,从而使得实施免疫与恢复的成本最小且被恶意软件感染的节点数量最少。但是其仅与传统的常数比例策略进行了比较,缺乏普遍性。Yao等[3–4]则从安装安全补丁方面考虑对恶意程序的处理,通过处理节点潜在的漏洞来防护易感染节点,或者通过对已感染节点的病毒进行处理,但是其考虑因素不完全。De[8]、Khouzani[9]、Hachinyan[10]、Karyotis[11]等分别基于病毒传播理论研究、传染病模型和损耗方程、时空马尔科夫链和元胞自动机,以及随机图论建立的WSN模型研究无线传感网恶意软件的传播模型。但是在有效遏制传播方面有待提高。Song等[12]对有线网络中的易感染节点进行了动态隔离,研究了相关启发式策略,优化了病毒防范策略。Rashed等[13]使用移动的节点控制WSN中恶意软件的传播,通过跟踪被感染节点治愈被感染节点。曾蓉等[14]利用信息熵和正交实验设计研究不同感染因素对恶意软件传播过程的影响,并对所有因素进行排序判断其影响大小。Liu等[15]计算了保证模型动力学的扩展阈值,从理论上证明了当阈值低于一个单位时恶意软件自由平衡的渐近稳定性。文献[12–15]中虽然对传播过程进行了一定研究,但是对传播状态的分类研究以及无线传感网中各状态间的转换还有待进一步补充。
要实现对恶意软件的传播控制,必须要充分了解其传播特点以及感染特性。然而,在无线传感网恶意软件的传播中,会对感染节点采取修复或者对未感染节点实施免疫措施,而修复和免疫措施并不总是实时的,此时的状态转换需要时间并且会引起时延,从而会影响传播过程。因此,作者将探讨在修复和免疫状态转换存在时间滞留的情况下恶意软件的传播模型,并分析其传播行为。
1 恶意软件传播模型 1.1 传播状态传感器节点通常是一个微型的嵌入式系统,它的处理能力、存储能力和通信能力相对较弱,通过携带能量有限的电池供电。由于受到应用和成本限制,传感器节点的硬件资源极其有限,而这种硬件资源的有限性决定了传感器网络存在能量、计算能力、存储能力、通信范围等方面的限制。其中,能量是限制传感节点能力、寿命的最主要的约束性条件,现有的传感节点都是通过标准的AAA或AA电池进行供电,而传感器节点的使用环境决定了其基本不可能进行重新充电。由于传感器节点的能量依靠电池供给,而且由于环境干扰和人为破坏等因素的影响,传感器节点会产生损坏,所以导致一些传感器节点不能正常工作,因此节点的物理损害[1]和电量耗尽使得节点走向消亡状态。将消亡状态引入恶意传播模型,增加了消亡状态D。
为了维持系统的正常生命周期,会不断地有新的节点接入到网络中[2],新接入网络的节点为易感节点,设接入率为α。因为网络中易感、感染和免疫的节点都有可能因为能量不足而转化为消亡状态,设节点的消亡率也为α,保证网络中存活的节点基本保持在一定的数量范围内。
在无线传感网中,对于易感节点来说,它们可以通过接种疫苗等方式转化为免疫节点,在此过程中会产生一定的时延,节点在经过短暂的接种疫苗过程之后会转换为免疫状态,设接种疫苗的过程为检疫状态Q。对于感染节点来说,它们在被恶意软件影响之后也会有一定的概率通过隔离和修复转化为免疫状态,隔离和修复的过程需要一定的时间,同样会产生时延,将此隔离和修复看作修复状态T,即节点可在感染状态经由修复状态转化为免疫状态,从而不受恶意软件的影响。
作者将考虑传播延时对恶意软件传播的影响,引入检疫状态Q和修复状态T。
1.2 元胞自动机首先,利用2维元胞自动机机制对恶意软件在无线传感网中的传播进行分析,能够更好地描述无线传感网平面中节点之间的时空交互特性,具有更好的微观局部描述效果。
通过一个四元组(C,N,E,f)表示该2维元胞自动机的机制,其中,C为元胞空间,N为元胞节点的邻域,E为状态集,f代表状态转换规则函数。
1)元胞空间。采用一个平面坐标系表示整个元胞空间,坐标系中点表示元胞空间中的一个元胞,即每个节点代表传感网中的一个传感节点。设初始时刻网络中节点的数量为N,每个传感节点可以用2维坐标进行唯一标志,即
2)邻域空间。由于无线传感网能量和通信距离有限的特点,基于无线传感网的元胞自动机的节点Ci,j邻域空间定义为:
| $H_{i, j}=\left\{(x, y) ; \sqrt{(x-i)^{2}+(y-j)^{2}} \leq R,(x, y) \in C\right\}{\text{。}}$ |
其中,R是每个节点可以通信的最大距离,即节点只能与该邻域空间内的节点有效通信。
3)状态集。设定网络中存在5种状态:S、I、Q、T、R、D。因此,定义节点Ci,j的状态变量E={0,1,2,3,4,5},其中,Ei,j为0、1、2、3、4、5分别代表节点Ci,j处于易感、感染、检疫、修复、免疫以及消亡状态。
4)状态转换。在基于无线传感网的恶意软件传播网络中,t时刻传感节点Ci,j的状态是由t–1时刻自身的状态Ei,j及其邻域空间Hi,j内邻居节点的状态共同作用的。处于易感状态S的节点可能会由于恶意软件的感染直接变为感染状态,或者接受检查转换为检疫状态,或者由于能量不足而消亡,转换为消亡状态;处于检疫状态的节点则以一定的概率转换为免疫节点,不再受到恶意软件的影响;处于感染状态的传感节点会因为接受治疗和修复而进入修复状态,或者由于能量不止导致消亡;处于修复状态的节点因为接受治疗和修复而以一定的概率转换为免疫状态;处于免疫状态的传感节点并不是一直都处于免疫状态,同样也会以相应的概率转换为消亡状态。
1.3 传播过程令S(t)为t时刻网络中易感节点的数量;I(t)为t时刻网络中已经被恶意软件感染的节点数量;Q(t)为t时刻网络模型中正在接种疫苗进行检疫的节点数量;T(t)为t时刻网络中由感染状态转化的正在进行隔离和修复的节点数量;R(t)为t时刻已免疫的节点数量,免疫节点不再被恶意软件影响;D(t)为t时刻由于能量不足等其他物理原因而消亡的节点数量。
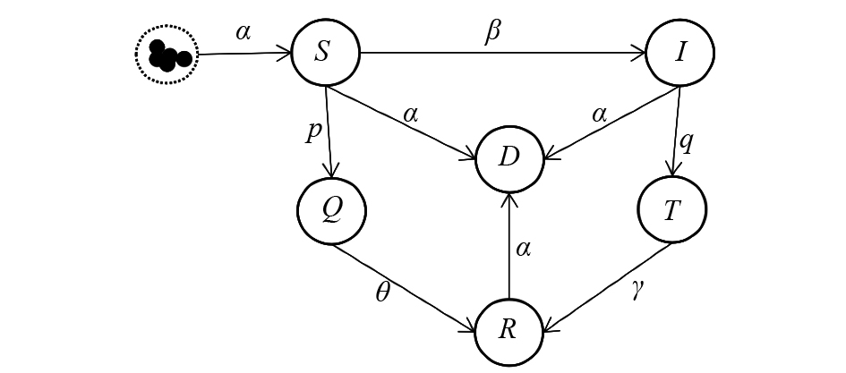
模型的状态转化如图1所示。
![]() |
| 图1 状态转化 Fig. 1 State transition |
图1中:β表示易感节点被恶意软件攻击之后成为感染节点的转换率;p表示处于易感状态的节点转换为检疫状态的概率;q表示已经受恶意软件攻击的处于感染状态的节点转化为修复状态的概率;γ表示感染节点在经过治疗和修复以后,从修复状态转换为免疫状态的转换率;θ表示处于检疫状态的节点转化为免疫状态的转换率。
2 系统的建立与分析 2.1 系统的建立根据图1的状态转化关系,建立考虑时延的恶意软件传播模型如下,随着时间的推移,S(t)、I(t)、Q(t)、T(t)、R(t)和D(t)收敛于微分方程组(1)的解:
| $\left\{ \begin{aligned} & \frac{{\rm{d}}S\!(t)}{{\rm{d}}t} = \alpha - \beta S\!(t)I(t) - pS\!(t) - \alpha S\!(t), \\ & \frac{{\rm{d}}I(t)}{{\rm{d}}t} = \beta S\!(t)I(t) - qI(t) - \alpha I(t), \\ & \frac{{\rm{d}}Q(t)}{{\rm{d}}t} = pS\!(t) - \theta Q(t - \tau ), \\ & \frac{{\rm{d}}T(t)}{{\rm{d}t}} = qI(t) - \gamma T(t - \tau ), \\ & \frac{{\rm{d}}R(t)}{{\rm{d}}t} = \theta Q(t - \tau ) + \gamma T(t - \tau ) - \alpha R(t) \end{aligned}\right.$ | (1) |
由于在检疫和修复状态时存在时滞,用τ表示在检疫和修复过程中所产生的时滞。设定系统中节点的总数为1,则有:
为了深入研究恶意软件传播的动力学形态,将对系统(1)的平衡点及其稳定性进一步分析。当系统在稳定的状态下,t时刻与t–τ时刻各状态的比率以及波动趋势是一样的,令t=t–τ,即时滞为零。
定义1(净化平衡解) 当传播系统中所有状态的节点数量都不会产生大幅度的波动,即系统处于稳定状态时,若系统中的感染节点已经全部转化为免疫节点,称该传播系统中(S,I,Q,T,R)的收敛值为系统的净化平衡解。此时系统中I=0,T=0。若系统中存在净化平衡解且满足全局稳定性,表明恶意软件在该系统中的传播受阻,最终会消亡。
定义2(正平衡解) 当传播系统趋向于平稳状态时,系统中各状态的节点没有出现消亡的现象,称该传播系统中(S,I,Q,T,R)的收敛值为正平衡解。此时系统中S,I,Q,T,R>0。若系统中存在正平衡解且满足全局稳定性,表明恶意软件在当前系统存在一定的传播。
由
| $ \left\{ \begin{aligned} &\frac{{\rm{d}}S\!(t)}{{\rm{d}}t} = \alpha - \beta S\!(t)I(t) - pS\!(t) - \alpha S\!(t), \\ & \frac{{\rm{d}}I(t)}{{\rm{d}}t} = \beta \times S\!(t)I(t) - qI(t) - \alpha I(t),\\ & \frac{{\rm{d}}Q(t)}{{\rm{d}}t} = pS\!(t) - \theta Q(t - \tau ),\\ & \frac{{\rm{d}}T(t)}{{\rm{d}}t} = qI(t) - \gamma T(t - \tau ) \end{aligned} \right. $ | (2) |
因此,在对平衡点的存在性以及其稳定性的分析中,可以直接用简化后的系统(2)进行分析。除此之外,为了下文分析系统的平衡点及其稳定性所涉及参数时书写方便,引入参数
| ${\lambda ^{*}}= \frac{{\alpha \beta }}{{(p + \alpha )(q + \alpha )}}$ | (3) |
定理1 当
证明:对于系统(2),令其各微分方程式的右式为零,即系统趋于稳定状态。
根据系统(2)的第2个公式可得到:I1=0或者
将I1=0代入系统(2)的第1、3、4个公式中,可得:
将
定理2 当恶意软件在系统中进行传播时,当
证明:为了进一步分析平衡点处的稳定性,将系统(2)进行线性化,线性化之后得到系统(4),如下:
| $\left\{\!\!\begin{aligned} & \frac{{\rm{d}}S\!(t)}{{\rm{d}}t} \!\!=\!\! J_{11}(S \!-\! {S^*}) \!+\! J_{12}(I \!-\! {I^*}) \!+\! J_{13}(Q \!-\! {Q^{\rm{*}}}) \!+\! J_{14}(T \!-\! {T^*}), \\ & \frac{{\rm{d}}I(t)}{{\rm{d}}t} \!\!=\!\! J_{21}(S \!-\! {S^*}) \!+\! J_{22}(I \!-\! {I^*}) \!+\! J_{23}(Q \!-\! {Q^{\rm{*}}}) \!+\! J_{24}(T \!-\! {T^*}), \\ & \frac{{\rm{d}}Q(t)}{{\rm{d}}t} \!\!=\!\! J_{31}(S \!-\! {S^*}) \!+\! J_{32}(I \!-\! {I^*}) \!+\! J_{33}(Q \!-\! {Q^{\rm{*}}}) \!+\! J_{34}(T \!-\! {T^*}), \\ & \frac{{\rm{d}}T(t)}{{\rm{d}}t} \!\!=\!\! J_{41}(S \!-\! {S^*}) \!+\! J_{42}(I \!-\! {I^*}) \!+\! J_{43}(Q \!-\! {Q^{\rm{*}}}) \!+\! J_{44}(T \!-\! {T^*}) \end{aligned} \right.$ | (4) |
线性系统(4)的参数对应于系统(2)的Jacobian矩阵为:
| $ \begin{aligned} {{J}}({{{X}}^*})= & \left[ {\begin{array}{*{20}{c}} {J_{11}}&{J_{12}}&{J_{13}}&{J_{14}}\\ {J_{21}}&{J_{22}}&{J_{23}}&{J_{24}}\\ {J_{31}}&{J_{32}}&{J_{33}}&{J_{34}}\\ {J_{41}}&{J_{42}}&{J_{43}}&{J_{44}} \end{array}} \right] = \\ & \left[ {\begin{array}{*{20}{c}} { - \beta I - p - \alpha }&{ - \beta S}&{0}&0\\ {\beta I}&{\beta S - q - \alpha }&0&0\\ p&0&{ - \theta }&0\\ 0&q&0&{ - \gamma } \end{array}} \right]{\text{。}} \end{aligned} $ |
将净化平衡点代入Jacobian矩阵
| $ {{J}}({{X}}_1)= \left[\!\!{\begin{array}{*{20}{c}} { - p - \alpha }&{\dfrac{{ - \alpha \beta }}{{p + \alpha }}}&{0}&{0}\\ {0}&{\dfrac{{ - \alpha \beta }}{{p + \alpha }} - q - \alpha }&{0}&{0}\\ p&{0}&{ - \theta }&{0}\\ {0}&q&{0}&{ - \gamma } \end{array}}\!\!\right]{\text{。}} $ |
由
| $ \begin{aligned} &\;{\rm tr}({{X}}_1)= \sum\limits_{i = 1}^4J_{ii} =- \frac{{\alpha \beta }}{{p + \alpha }} - q - \alpha - \theta - \gamma ,\\ &{\rm{Det}}({{X}}_1) = \theta \gamma (p + \alpha )(\alpha \beta /(p + \alpha ) + q + \alpha ){\text{。}} \end{aligned} $ |
由此可知,当满足
定理3 当恶意软件在系统中进行传播,当
类似于定理2,将正平衡点代入系统(4)对应于系统(2)的Jacobian矩阵
| ${{J}}({{X}}_{2})= \left[\!\!{\begin{array}{*{20}{c}} { - \dfrac{{\alpha \beta }}{{q + \alpha }}}&{ - (q + \alpha )}&{0}&{0}\\ {\dfrac{{\alpha \beta }}{{q + \alpha }} - p - \alpha }&{0}&{0}&{0}\\ p&{0}&{ - \theta }&{0}\\ {0}&q&{0}&{ - \gamma } \end{array}}\!\!\right], $ |
可得:
| $ \begin{aligned} {\rm{Det}}\left( {{{{X}}_2}} \right) = & \left| {\begin{array}{*{20}{c}} {\dfrac{{ - \alpha \beta }}{{q + \alpha }}}&{ - (q + \alpha )}\\ {\dfrac{{\alpha \beta }}{{q + \alpha }} - p - \alpha }&{0} \end{array}} \right| \times \left| {\begin{array}{*{20}{c}} { - \theta }&{0}\\ {0}&{ - \gamma } \end{array}} \right| = \\ & [\alpha \beta - (q + \alpha )(p + \alpha )] \times \theta \gamma {\text{。}} \end{aligned} $ |
当
分别对净化平衡解和正平衡解进行全局稳定性分析。
定理4 恶意软件在系统中进行传播时,若满足
证明:
首先,由定理1可知,当
根据Lyapunov稳定性定理,构造Lyapunov函数V(S,I,Q,T)=aI+bQ+cT,其中设
| $ \begin{aligned} &\quad \frac{{\rm{d}}V}{{\rm{d}}t} = a\frac{{\rm{d}}I}{{\rm{d}}t} + b\frac{{\rm{d}}Q}{{\rm{d}}t} + c\frac{{\rm{d}}T}{{\rm{d}}t} = \\ &\quad \quad a(\beta SI - qI - \alpha I) + b(pS - \theta Q) + c(qI - rT) = \\ & a(\frac{{\alpha \beta }}{{p + \alpha }} - q - \alpha )I + b(p\frac{\alpha }{{p + \alpha }} - \theta \frac{{p\alpha }}{{\theta (p + \alpha )}}) + c(qI - rT) = \\ &\quad \quad \quad a \times (q + \alpha ) \times [\frac{{\alpha \beta }}{{(p + \alpha )(q + \alpha )}} - 1]I = \\ & \quad \quad \quad \quad \quad \quad \quad ({\lambda ^*} - 1)I \leq 0 \text{。} \end{aligned} $ |
因此,由Lyapunov稳定性准则得出
定理5 恶意软件在系统中进行传播时,若满足
证明:分析正平衡解的全局稳定性时,要将模型中的时延作为一项影响因子分析其性质,设其Jacobian矩阵为
| $ {{J}}({{X}}')= \left[\!\!{\begin{array}{*{20}{c}} { - \dfrac{{\alpha \beta }}{{q + \alpha }} + \lambda }\!\!\!&\!\!\!{ - (q + \alpha )}\!\!\!&\!\!\!{0}\!\!\!&\!\!\!{0}\\ {\dfrac{{\alpha \beta }}{{q + \alpha }} - p - \alpha }\!\!\!&\!\!\!\lambda \!\!\!&\!\!\!{0}\!\!\!&\!\!\!{0}\\ p\!\!\!&\!\!\!{0}\!\!\!&\!\!\!{ - \theta {{\rm{e}}^{ - \lambda \tau }} + \lambda }\!\!\!&\!\!\!0\\ {0}\!\!\!&\!\!\!q\!\!\!&\!\!\!{0}\!\!\!&\!\!\!{ - \gamma {{\rm{e}}^{ - \lambda \tau }} + \lambda } \end{array}}\!\!\right]{\text{。}} $ |
对应的特征方程为:
| $ \begin{aligned} & \begin{aligned} P(\lambda ) = & {\lambda ^4} +\left(\frac{{\alpha \beta }}{{q + \alpha }}\right){\lambda ^3} + [\alpha \beta - (p + \alpha )(q + \alpha )]{\lambda ^2}+\\ & \left( - \gamma \times \theta \frac{{\alpha \beta }}{{q + \alpha }}\right)\lambda , \end{aligned}\\ & \quad \quad Q(\lambda ) = - (\gamma + \theta )[\alpha \beta - (p + \alpha )(q + \alpha )]\lambda {\text{。}} \end{aligned} $ |
令
| $\begin{aligned} & \quad \quad \quad {p_{3}} = \frac{{\alpha \beta }}{{q + \alpha }},\;{p_{2}} = \alpha \beta - (p + \alpha )(q + \alpha ), \\ & {p_{1}} = - \gamma \times \theta \frac{{\alpha \beta }}{{q + \alpha }}, {q_{1}} = - (\gamma + \theta )[\alpha \beta - (p + \alpha )(q + \alpha )],\end{aligned}$ |
则有:
| $P(\lambda ) = {\lambda ^4} + {p_3}{\lambda ^3} + {p_2}{\lambda ^2} + {p_1}\lambda $ | (5) |
| $Q(\lambda ) = {q_1}\lambda $ | (6) |
当τ趋于0时,将式(5)、(6)相加,得:
| ${\lambda ^4} + {p_{\rm{3}}}{\lambda ^3} + {p_{\rm{2}}}{\lambda ^2} + ({p_{\rm{1}}} + {p_{\rm{2}}})\lambda = 0$ | (7) |
在满足条件
通过对传播模型中平衡点及其稳定性的分析可知,当
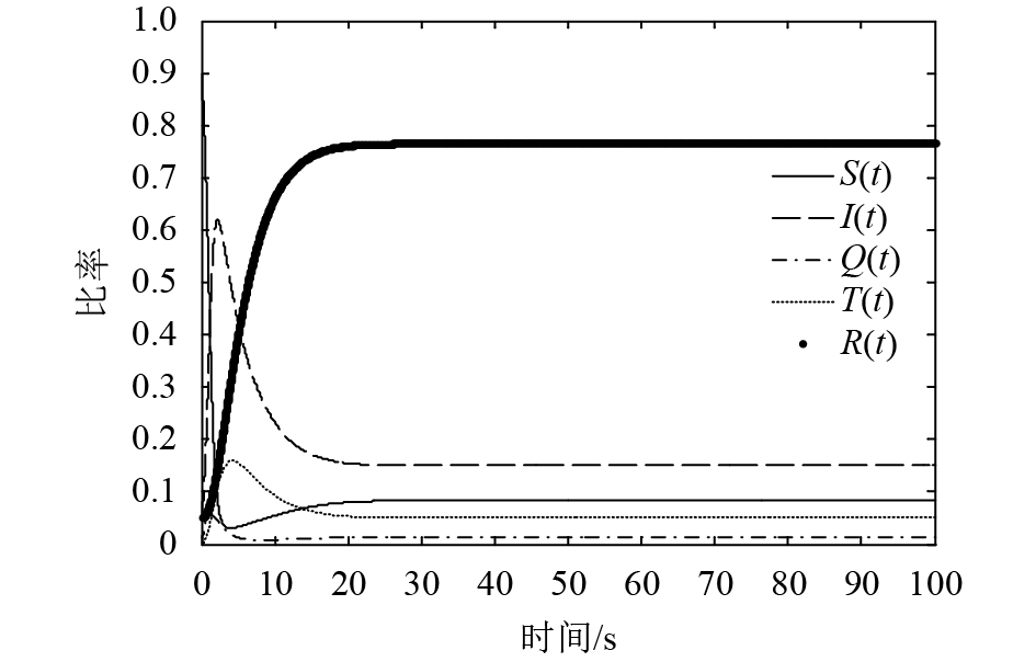
为了模拟真实环境,将研究对象定位于网络蠕虫这种能自动快速传播并且引起严重疫情的恶意传播软件。作者以WS 小世界网络作为初始时刻的网络拓扑模拟WSN的环境。对建立的模型利用MATLAB对恶意软件在WSN 中的传播进行分析与仿真, 通过传播模型建立微分方程组,研究其传播过程。
实验环境为100×100的区域中随机布置N个传感器节点,实验从位于(30,30)到(60,60)的中心区域中任意选择一个感染节点开始。其中,对于N个传感节点,N取值为1 500,初始状态的感染节点比率是0.05,易感节点比率为0.9,免疫节点比率为0.05。令p=0.1,q=0.2,α=0.05,β=0.5,θ=0.6,γ=0.6,此时
![]() |
|
图2 |
![]() |
|
图3 |
由图2可得:当
由图3可得:当
由上述分析可得,实验仿真的结果与第2.2节中分析的完全一致,当
分析稳定性时,由于当系统处于稳定状态下各状态节点的比率不再发生变化,因此可将时滞τ的取值设为零。但是当τ不再为零时,可能会对模型的传播产生影响,因此,应继续讨论时滞τ的取值对系统的稳定性所产生的影响。令参数值p=0.1,q=0.2,α=0.05,β=2,θ=0.6,γ=0.6。设时滞阈值为τ0(当p、q、α、β、θ和γ分别取值0.1、0.2、0.05、2、0.6和0.6时,时滞的阈值τ0为5),时滞阈值是基于时滞的恶意软件传播模型分析的一个重要参数,其值是模型的不同传播规律的分水岭,是传播特性变化的转折点,借助时滞阈值可以更好地分析时滞τ的取值对系统的稳定性所产生的影响。
令τ=2,系统中各节点传播情况的仿真结果如图4所示,此时传播同样稳定。
![]() |
| 图4 τ=2时各状态节点的比率 Fig. 4 Proportion of each node when τ=2 |
由图4可得,当τ=2时,系统中各节点比率随着时间的变化会产生一些波动,在传播一段时间之后,各状态的节点比率最终会趋于一个恒定的值,即系统处于稳定状态。因此,当τ的取值小于阈值τ0时,系统依旧处于一个稳定的状态,且存在平衡解。此时令
令τ取值分别为2、5、10、20,相应模型的感染情况如图5所示。
![]() |
| 图5 τ取值不同时的节点感染比率 Fig. 5 Proportion of node for different values of τ |
由图5可知:当τ分别取2和5时,模型中感染节点比率I(t)的变化趋势极为相似,在前期系统中的感染节点比率都是呈增加趋势,到达顶峰后进而降低,之后逐渐会趋于一个平稳状态;不同之处在于,当τ取5相较于τ取2时传播曲线在递增区间内斜率更大,而且感染节点比率曲线峰值处的比率有所增加,并且平稳状态的感染比率也略有增大。由此可知,当τ分别取2和5时,τ小于等于阈值τ0,此时系统中感染病毒的节点数量最终会出现平稳状态,存在平衡解,且τ的增加会使得感染节点比率曲线的峰值和平稳状态数值增加。
当τ分别取10和20时,模型中感染节点比率I(t)在前期呈现出递增的趋势,继而开始递减并出现波动,之后一直保持递增和递减的上下波动,系统中的感染节点不再出现稳定状态且没有平衡解,而是呈现出周期性的波动状态。除此之外当τ取值从10增加为20时,感染节点比率的波动周期增加并且曲线的波峰值和波谷值都相应增加。可知,当τ分别取10和20时τ大于阈值τ0,系统中感染节点的比率变化情况不再出现稳定状态,而是呈现周期性波动,并且随着τ值的增加,波动周期增加,曲线的极值也呈现出增大的情况。
从图5还可以看到:在最初的传播阶段,曲线相互有重叠,这说明初始阶段时滞对于系统的传播影响不是很大。但是随着时滞的不断增加,曲线的变化趋势相差较大,周期和振幅都出现明显的不同步,说明时滞的大小对系统的传播产生影响,并且时滞越大,影响越明显。
因此,由上述仿真实验结果可知:当τ小于等于阈值τ0时,系统中感染病毒的节点数量最终呈现出平稳状态,存在平衡解。这是由于当τ小于等于阈值τ0时,系统存在平衡解,在此情况下系统会趋于一个稳定状态,在该取值范围内,时滞对系统的影响未能体现出来,因此感染病毒的节点数量只由感染系数决定而与时滞无关。
当τ取值大于阈值τ0时,系统中感染节点的比率变化情况呈现周期性波动。这是由于时滞的增加已经超出系统控制平衡的范围,时滞的影响使得感染节点数量最终不再稳定,而且不同时刻其对感染节点数量的影响程度不同,因此仿真实验数据呈现出波形图像。
3.3 模型对比将本文模型与文献[3]中模型进行对比,Yao等[3]研究了稳定的延迟网络蠕虫传播模型,其证明完整,分析具有代表性。对比不同模型在相同参数情况下系统的传播特性。取N取值为1 500,初始状态的感染节点比率是0.05,易感节点比率为0.9,免疫节点比率为0.05。令参数值p=0.1,q=0.2,α=0.05,β=2,θ=0.6,γ=0.6,τ=2。设本文模型的免疫节点比率为R(t),文献[3]中模型的免疫节点比率为
![]() |
| 图6 不同模型的免疫节点比率情况对比 Fig. 6 Comparison of the proportion of immune nodes in different models |
由图6可得:随着时间的增加,R(t)和
另外,在参数相等的情况下,最后处于稳定状态时R(t)和
基于元胞自动机制,构建了基于时滞的无线传感网恶意软件状态转移模型,并以此建立了微分方程组,通过对该模型平衡点的存在性和稳定性分析,讨论了各种不同情况下的传播情况。对理论分析的稳定性以及时滞对系统的影响进行了仿真实验分析和验证,确定了影响传播稳定性的参数阈值的范围。并与其他模型进行了对比,分析了时滞的影响效果。
由实验的结果可知,当时滞τ在小于阈值τ0时,系统处于稳定状态,存在平衡解;随着τ的不断增加,尤其当延τ大于阈值τ0时系统不再趋于稳定状态,开始出现周期性的震荡,节点的比率也不再恒定不变;基于时滞的模型中免疫节点增长速率比较缓慢。由此可以得出,在无线传感网中当恶意软件进行传播的时候,要控制时滞在一定的范围,才能使恶意软件感染的传播得到控制,从而有效地防治无线传感网中恶意软件攻击的问题。
因此,可采用减少相对时滞的措施以抑制恶意软件在无线传感网中的有效传播,减少感染节点的比率,有效增加免疫节点的比率,从而使系统尽可能处于稳定的状态。该结果对于建立遏制恶意程序在移动无线传感网中扩散传播的安全策略具有重要的研究意义。下一步的研究工作将围绕着对该模型的可靠度以及恶意软件的遏制效果展开研究和分析。
| [1] |
Akyildiz I F,Su W,Sankarasubranabiam Y,et al. Wireless sensor networks:A survey[J]. Computer Networks, 2002, 38(4): 393-422. DOI:10.1016/s1389-1286(01)00302-4 |
| [2] |
曹玉林,王小明,何早波. 移动无线传感网中恶意软件传播的最优安全策略[J]. 电子学报, 2016, 44(8): 1851-1857. DOI:10.3969/j.issn.0372-2112.2016.08.012 |
| [3] |
Yao Yu,Feng Xiaodong,Yang Wei,et al. Analysis of a delayed Internet worm propagation model with impulsive quarantine strategy[J]. Mathematical Problems in Engineering, 2014, 2014: Article ID 369360. DOI:10.1155/2014/369360 |
| [4] |
Yao Yu,Xie Xiaowu,Guo Hao,et al. Hopf bifurcation in an Internet worm propagation model with time delay in quarantine[J]. Mathmatical and Computer Modeling, 2013, 57(11/12): 2635-2646. DOI:10.1016/j.mcm.2011.06.044 |
| [5] |
Giannetsos T,Dimitriou T,Krontiris I,et al. Arbitrary code injection through self-propagating worms in Von Neumann architecture devices[J]. The Computer Journal, 2010, 53(10): 1576-1593. DOI:10.1093/comjnl/bxq009 |
| [6] |
Gu Qijun,Ferguson C,Noorani R. A study of self-propagating mal-packets in sensor networks:Attacks and defenses[J]. Computers & Security, 2011, 30(1): 13-27. DOI:10.1016/j.cose.2010.10.002 |
| [7] |
Wang Yini,Wen Sheng Xiang Yang,et al. Modeling the propagation of worms in networks:A survey[J]. IEEE Communications Surveys & Tutorials, 2014, 16(2): 942-960. DOI:10.1109/SURV.2013.100913.00195 |
| [8] |
De P,Liu Yonghe,Das S K.Modeling node compromise spread in wireless sensor networks using epidimic theory[C]//Proceedings of the 2006 International Symposium on the World of Wireless,Mobile and Multimedia Networks(WoWMoM 2006).Buffalo:IEEE,2006:237–243.
|
| [9] |
Khouzani M H R,Sarkar S. Maximum damage battery depletion attack in mobile sensor networks[J]. IEEE Transactions on Automatic Control, 2011, 56(10): 2358-2368. DOI:10.1109/TAC.2011.2163881 |
| [10] |
Hachinyan O.Detection of malicious software on based on multiple equations of API-calls sequences[C]//Proceedings of the 2017 IEEE Conference of Russian Young Researchers in Electrical & Electronic Engineering.St. Petersburg:IEEE,2017:415–418.
|
| [11] |
Karyotis V. Markov random fields for malware propagation:The case of chain networks[J]. IEEE Communications Letters, 2010, 14(9): 875-877. DOI:10.1109/LCOMM.2010.072910.100866 |
| [12] |
Song Yurong,Jiang Guoping.Modeling malware propagation in wireless sensor networks using cellular automata[C]//Proceedings of the 2008 International Conference on Neural Networks and Signal Processing.Nanjing:IEEE,2008:623–627.
|
| [13] |
Rashed A,Mahapatra R N. The three-tier security scheme in wireless sensor network with mobile sinks[J]. IEEE Transactions on Parallel and Distributed System, 2012, 23(5): 958-965. DOI:10.1109/TPDS.2010.185 |
| [14] |
Zeng Rong.Malware propagation and inhibition in vehicular Ad-hoc networks[D].Harbin:Harbin Institute of Technology,2018. 曾蓉.车载自组网恶意软件传播及其抑制[D].哈尔滨:哈尔滨工业大学,2018. |
| [15] |
Liu Wanping,Liu Chao,Yang Zheng,et al. Modeling the propagation of mobile malware on complex networks[J]. Communications in Nonlinear Science and Numerical Simulation, 2016, 37: 249-264. DOI:10.1016/j.cnsns.2016.01.019 |
2019, Vol. 51







